CEXXY Lace Front Human Hair Wigs Brazilian Loose Wave Hair Wigs For Women 250% Density Curly Lace Front Wigs Free Shipping
Dream Beauty 250 Density Straight Brazilian Lace Front Wigs With Baby Hair 8-24 Inch Remy Human Hair lace Wigs Natural Hairline
Brazilian Remy Natural Black 250% Pre Plucked Curly 360 Lace Frontal Wig With Baby Hair Lace Front Human Hair Wigs For Women
Water Wave Brazilian Human Hair Full lace Wig With Baby Hair 250% Density Deep Wave Full Lace Human Hair Wig Pre Plucked MS.ILSA
10A Brazilian Straight Glueless Wigs Pre Plucked Hairline Lace Front Wigs 200% Density Virgin Human Hair 13x6 Front Lace Wigs
Gear Drive 16.8V 2Ah Lithium Ion Garden Pruning Shear for Plant Electric Rechargeable Fruit Branch Scissors
Dual Pedals Scooter Exercise While Having Fun
B 2017 New Design with Rocket Shape Push Flame Height Adjustable 3-18Y Children Tricycle Standing Kid Scooter
Wing Chun Butterfly Knives, Bart Cham Dao, Wing Chun Swords with free shipping Handmade one shape design knife
Sword breaker Antique Ming steel double mace wooden double Sword breakers mace similar to martial arts whips cold weapons
Special design Wing Chun Double Swords Wing Tsun Butterfly double Knives handmade brass fittings with leather Scabbard
Free DHL shipment for 24K Real Gold Plated Metal Golden Globe Trophy Awards In Sport Souvenir Best Quality Golden Globe Trophy
0.9MM PVC inflatable boat 3 layer inflatables fishing boats laminated wear-resistant kayak rubber boat for fishing
Carbon whitewater paddle straight shaft Free bag for watersports surfing
2-Piece Round Sharf J-series Kayak Paddle Carbon Fiber Kayak Paddle With Ferrule System
Fish Finder Fish Rowing Boats 1.5kg Loading 500m Remote Control Fishing Bait Boat RC Boat Ship Speedboat Drop shipping US Plug
Bestway Hydro-Force Two Person Fishing Kayak Boat Inflatable Adult Kayak Sea River Lake Paddle Fishing Canoe Raft
AQUA MARINA MOTION New Inflatable Boat Sports Kayak PVC Boat Paddle Rubber Inflatable Boats Double Persons Canoeing With Paddle
2 Stroke 4 Stroke 4HP 6HP 18HP Outboard Motor Boat Engine Water Cooling Air Cooling System New High Quality
Onefeng Sports Heavy Duty Padded Upright Roof L Bar Vertical Kayak Roof Racks Holder Kayak Car Carrier
Microsoft Office Home & Business 2019 For Mac/Windows License Product Key With Retail Box DVD Version Software | 1 User/1 Device
Microsoft Office Home and Business 2016 For Windows License Product key Code Retail Boxed inside DVD 32Bit/64Bit
Original for SONY SVF15N motherboard DA0F13MB8D0 I5-4200U GT735M 2GB tested good free shipping connectors
Original for SONY SVF15A motherboard DA0GD6MB8E0 I7-3537U 4GB GT735M 2GB tested good free shipping connectors
Original for Sony SVD132 SVD13213CXB SVD1321BPXB laptop motherboard MBX-281 I5-4200U 1-888-562-12 A1939018A tested good
Original For CLEVO For Hasee K610C-I7 laptop motherboard GT750M 2GB W650SR 6-71-W6500-D03 ttested goog free shipping
Original for ACER V5-552G laptop motherboard 4GB A10-5757M HD8600M 2GB DA0ZRIMB8E0 NBMBMB11001 tested good free shipping
Original for Lenovo 510S-13IKB laptop motherboard 510S-13IKB I5-7200U BIUS0 LA-D441P PN;5B20M35998 tested good free shipping
Original for Lenovo X240 laptop motherboard X240 I5-4210U VIUX1 NM-A091 FRU 00HM952 tested good free shipping
For motherboard For Thinkpad E470 E470C CE470 NM-A821 REV:3.0 With I5-7200U laptop independent graphics card motherboard
original FOR acer 6593 motherboard 48.4NM01.0SB DDR3 BAD50-HR motherboard 100% tested
Laptop Motherboard For MSI MS-16G51 GE620DX GE620 Mainboard Intel DDR3 100% test ok
Laptop motherboard For acer for aspire E1-531 motherboard NBMFP11005 NB.MFP11.005 DDR3 With i5-4200U CPU Onboard V5WE2 LA-9532P
Laptop motherboard H000053270 For Toshiba Satellite Pro L50 hm86 DDR3 Non-integrated Socket PGA947 E220370 VGSG MB 100% tested
laptop motherboard 69N0CKM42A01P for toshiba satellite C50A C50D motherboard PT10SG DSC MB REV 2.0 DDR3 GT710M 100% test ok
laptop motherboard for toshiba satellite U845W A000231390 DA0TEAMBAD0 i7-3517U SR0N6 HM77 GMA HD4000 DDR3 free shipping
Wholesales Mid 2010 Video Card Radeon HD 6570 DDR5 512MB 109-B98557-00 216-0772003 For Apple iMac A1311 laptop full tested
Laptop Motherboard For Acer for aspire V3-771 V3-771G Motherboard 69N099M21A01P Va70 Vg70 DDR3 Non-Integrated 100% tested ok
For Lenovo Y50-70 Laptop Motherboard GTX860M i7-4700HQ processor LA-B111P 5B20F78852 Full Tested
Wholesale Laptop motherboard For MSI MS-17621 MS17621 HM77 Non-Integrated DDR3 100% TESTED OK
Laptop motherboard VILT2 NM-A131 Rev 1.0 for lenovo for thinkpad T440P DDR3L FRU 00HM971 HM86 HD5000 100% perfect work
laptop motherboard FOR Toshiba Satellite P55 P55T L50 I5-4200U H000059240 69N0C3M6DA02-01 RE.2.1 DDR3 INTEGRATED 100% Work
R99XN For Dell 9530 Laptop Motherboard CN-0R99XN 0R99XN I7-4712HQ processor GT750M 2GB LA-9941P DDR3L Full tested
NOKOTION H000034860 PN 08N1-0NA1J00 Main board For toshiba satellite L775 laptop motherboard HM65 GeForce GT525M ddr3
NOKOTION For Acer aspire S7-392 Laptop Motherboard 48.4LZ02.021 NBMBK11007 NB.MBK11.007 I5-4210U CPU 4GB Ram
For DELL Alienware M17X R5 M18X R3 laptop J0M0K N15P-GX-B-A2 GTX860M GTX 860M MXM 3.0 DDR5 2GB video graphics card
For dell Alienware M17X R5 M18X R3 laptop 9R3F5 09R3F5 N14E-GE-B-A1 GTX765M DDR5 2GB graphics board
laptop motherboard 57CTW 057CTW CN-057CTW For Dell FOR Latitude E5540 i3-4030U LA-A101P motherboard Integrated 100% perfect work 




Brand Name
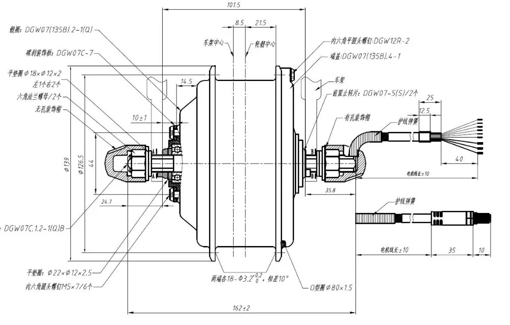
EUNORAU
Voltage
36V
Design
Brushless
Wattage
201 - 300w
Motor Type
Brushless Gear Hub Motor
SKU
MINI-DB-F
Type
DGW07
Specification
16-28in,36(Holes)
Rated Power
250W
Rated Voltage
36V
Fork size
100mm
Outgoing line
Right
The EUNORAU hub motors IS more strong than other motors.the motors from EUNORAU providing ideal power for vehicles, if you don’t have controller sets,battery, you can buy from our shops. Weare engaged in the electric bicycle industry has been more than six years, withprofessional technical team, high quality products and first-class service. With the development of the electric bicycle industry,we have customers all over the world and met many troubles.With these troubles, we have much experience on e-bike kits today. Our e-bike kits are easy to install and allow you to convert your standard bicycle into an fun and eco-friendly e-bike. Since every model is different and componentswill vary, it's your responsibility to determine the best way to install an electric bike kit on your bike. Although most of the steps are similar from install to install, we have instructions can help the customers to convert their bicycle. Q: Custom Duties: A: Import duties,taxes and charges are not included in the item price . Q: Color Difference : A: The pictures showing at our store are taken based on the true products .Because of different monitor and brightness,there may exist normal tiny colour difference,please donnot leave a bad feedback or return goods to us without contacting us Q: Delivery Time : A: If products still in Transit ,and your deliver time is going to expire ,kindly contact us ,and we will extend delivery time for you .and if products is lost in transit ,kindly contact us we will make full refund or resend the same products to you soonest . Q: Feedback: A:Your satisfaction and positive feedback is very important to us. Please leave positive feedback and 5 stars if you are satisfied with our items and services If you have any problems with our items or services,please feel free to contact us before you leave negative feedback. Q: Defective Products: A: Please do not sign on shipping bill if products is defective , it is shipping company's responsibility , please take photo for us and we will make refund to you . Q: Return Policy: A: we do our best to serve our customers.we will refund you if you return the items within 15 days of your receipt of the items and it is only the reason of product itself like defect,damage,anything that is seller's fault,not the buyer's personal preference or failure to use. Besides,the items returned must be in their original conditions














Tidak ada komentar:
Posting Komentar